| 您當前位置:真空泵-首頁--新聞資訊 |
| 本站關鍵詞:真空泵 真空機組 水環式真空泵 旋片式真空泵 羅茨水環真空機組 羅茨旋片真空機組 |
|
2X-150F型泵:圖1是2X-150F型旋片式真空泵中最大的泵之結構圖。前面舉的小泵均采用雙級串聯方式。工作時,只高真空級泵承擔全部抽氣作用。當初始抽氣時,高真空級排氣的壓力能夠打開排氣閥片,氣體排出一部分,另一部分由低真空級閥片排出。此時低真空級只相當于輸氣通道。對于大泵來講,低真空級不承擔排氣是種浪費,故2X-150F采用并串聯結構,在泵的兩級通道之間加一個手動變換閥,使前后兩級可并聯亦可串聯進行排氣。
|

圖1,a, b是該泵高、低真空級泵腔剖面圖。
圖1 2X-150F結構圖 |
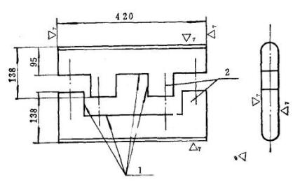
在提高容積利用系數上,為使旋片在轉子槽中含量不致過少,采用凸凹銜接(見圖2),這樣,不僅使每個旋片重量減少2公斤,且使泵腔壓力減少,磨損小,提高了轉數和壽命。 |

圖2 2X-150F旋片結構圖
1.這些面鑄后不加工; 2.導向面 |
整機取消了公共底盤。高真空級定子腔直徑φ280毫米,轉子直徑φ210毫米,定子長420毫米,旋片厚15毫米。低真空級定子直徑φ190毫米,轉子直徑φ145毫米,定子長90毫米,旋片厚12毫米。壓縮比取1:10, K取0.88和0.9,幾何抽速Sn分別為142.56升/秒和14升/秒。極限壓強:串聯為2.8x10-4托,并聯為1.2x10-2托。 |
| 上一篇:飛魯旋片式真空泵技術標準的制定依據 |
| 下一篇:旋片式真空泵進排氣口位置與大小對噪音的影響 |
| 轉載請注明出處:http://m.pysdjx.cn,飛魯泵業版權所有 |